Röhren-Verjüngung und -Instandsetzung
Je knapper Röhren werden, je schwerer bestimmte Typen zu beschaffen sind,
um so stärker wendet sich das Interesse der Fachkreise der Röhren-Regenerierung zu.
Die Regenerierung hat schon einmal eine Blütezeit erlebt, in. den Anfangsjahren des Rundfunks,
als die einfachen Batterieröhren mehr kosteten als heute komplizierte Netzröhren,
so dass eine Wiederinstandsetzung tauber Röhren aus wirtschaftlichen Gründen geübt,
teilweise sogar gewerbsmäßig durchgeführt wurde. Heute ist eine solche Wiederauffrischung
noch sehr viel wichtiger, da manche Typen im Handel überhaupt nicht mehr erhältlich sind.
Im erten Abschnitt sind einige Regenerierungsverfahren in Form einer übersichtlichen Tabelle zusammenstellt.
Im zweiten Teil der Arbeit wird eine Übersicht über Röhren-Reparaturen gegeben.
Ich hoffe, dass diese Arbeit den Lesern Nutzen bringt,
indem sie dazu beiträgt, die Lebensdauer der Röhren zu verlängern.
Wie oft müssen wir mit unserem Röhrenprüfgerät feststellen,
dass eine Röhre ihren Zweck nicht mehr erfüllen kann!
Wie oft tritt dann die Frage auf, ob man diese Röhre nicht regenerieren, d, h. auffrischen,
verjüngen oder reparieren könne, weil man z. Zt. keinen Ersatz dafür beschaffen kann.
Jeder Versuch, eine Röhre wieder herzustellen, ist als Lotteriespiel zu bezeichnen,
bei dem die Röhre den Einsatz darstellt. Man kann zwar feststeilen, welchen Taubheitsgrad
eine Röhre hat, aber kann ihr von außen nicht ansehen, ob der Zustand ihrer Kathode einen
Regenerierungsversuch (also in den meisten Fällen eine Gewaltkur) überlebt.
Man sollte also nur solche Röhren zu verjüngen oder reparieren suchen, die 'keinesfalls
mehr anders verwendet werden können und deren Garantie abgelaufen ist, denn durch
Regenerierungsversuche zerstörte Röhren werden selbstverständlich nicht ersetzt. Röhren,
die weniger als 25 % ihres ursprünglichen Kathodenstroms aufweisen, wird man in keinem
Fall mehr retten können.
I. Regenerieren
Beim Regenerieren (Verjüngen) einer Röhre handelt es sich darum, eine zweite Formierung der
Kathode durchzuführen. Es muss also dasselbe vorgenommen werden, wie bei der Herstellung der
Röhre, d. h. auf thermischem Wege sollen chemische Vorgänge ausgelöst werden, die. die Bildung
einer gut emittierenden Kathodenschicht zur Folge haben. Für ältere Röhren heißt das, dass aus
dem thorierten Wolfram-Faden neues Thorium an die Oberfläche des Fadens befördert werden muss;
bei modernen Röhren dagegen muss reines Barium an der Oberfläche der Kathode gebildet werden.
Das Formieren und infolgedessen auch das Regenerieren wird durch eine starke Erhöhung der Temperatur
der Kathode vorgenommen. Man kann nach zwei Verfahren vorgehen: a) einfache Überheizung der
unbelasteten Kathode, b) Überheizung der Kathode unter gleichzeitiger Belastung mit dem Anodenstrom.
Wendet man das zweite Verfahren an, so muss man die Kathodenbelastung messen und auf den günstigsten
Wert einstellen können. Der Idealzustand wäre es natürlich, wenn in einer Tabelle für sämtliche Röhren
die genauen Formierdaten angegeben werden könnten. Das aber ist unmöglich, denn die Formiervorgänge
verlaufen bei den verschiedenen Kathodenarten sehr verschiedenartig und die in der Literatur verstreuten
Berichte über Regenerierungsversuche beziehen sich auf Röhren verschiedener Kathodenbeschaffenheit,
so dass sie auch zu unterschiedlichen Erfolgen führten. Auf diese Tatsachen ist es zurückzuführen,
dass man in der Literatur oft einander widersprechende Angaben findet. Wer sich öfter mit der
Regenerierung von Röhren befasst, sollte sich im übrigen eingehend mit den Kathodenfragen beschäftigen,
wozu die Arbeit von Mie in der "Telefunken-Röhre" Heft 13, August 1938, Seite 137 ff., eine gute
Möglichkeit bietet.
Die Röhrenverjüngungstabelle
Eine Zusammenstellung erprobter Rezepte bringen wir in der Röhrenverjüngungs-Tabelle nach Kathodenarten
geordnet; es wird dabei in vielen Fällen möglich sein, unrettbar scheinende Röhren zur Wiederaufnahme
ihrer Tätigkeit zu veranlassen.

Anmerkungen zur Röhrenverjüngungs-Tabelle
Zu Spalte 4: Kennzeichen-Schlüssel.
Wenn hierbei Hinweise für die äußeren Kennzeichen der verschiedenen Kathodenarten gegeben werden,
so muss gleich vorausgesetzt werden, dass es sich nicht um allgemein gültige Regeln handeln kann,
weil mitunter ein- und derselbe Röhrentyp im Laufe der Zeit mit verschiedenen Kathoden ausgerüstet wurde.
a) Hellglänzender Magnesiumspiegel in dem oberen Teil des inneren Glaskolbens.
b) Bei Barium-Destillationskathoden wird bei der Herstellung durch Wirbelstromerhitzung Barium
aus einer taschenförmigen Kammer der Anode auf das fertige Röhrensystem und damit auf den Heizfaden
gedampft ("destilliert"). Bariumdampfkathoden liegen daher mit Sicherheit dann vor, wenn sich auf
der Anode ein kleines Kästchen befindet und ein dunkler (Barium-) Spiegel den größten Teil des
inneren Glaskolbens bedeckt. Allerdings erscheint der Barium-Spiegel nicht immer sehr dunkel,
weil sich das auch nach. der Glassorte richtet (z. B. ValvoRöhren heller als Telefunken gleichen Typs).
c) Bariumpastekathoden sind äußerlich kenntlich an einem verhältnismäßig kleinen Magnesium-
oder Bariumspiegel, meist nur in der Sockelseite des Kolbens. Im übrigen sind es Dunkelstrahler mit
großer Fadenlänge. Meist glühen die Stellen, an denen der Faden aufgehängt ist, heller als der
übrige Faden, weil dort die Bariumpaste fehlt.
d) Die aktive Schicht entspricht den Bariumpaste-kathoden. Da diese Kathoden ausdrücklich für den
Raumladebetrieb vorgesehen sind, verfügen sie über große Ergiebigkeit und regenerieren sich bei
Betrieb normalerweise selbst.
e) Bei ausländischen Röhren wird man nicht immer die Kathodenart feststellen können, auch bei maneben
deutschen Röhren kann man mitunter im Zweifel sein. Dann unterscheidet man zweckmäßig nach der
bisherigen Betriebsdauer zwischen "Kurzbrennern" und "Langbrennern".
"Kurzbrenner" sind Röhren, die nach ungewöhnlich kurzer Brennzeit, z.B. durch ständige starke
Unterheizung, ihre Leistungsfähigkeit verloren haben, während "Langbrenner" bis zu ihrer Ermüdung
sehr lange gearbeitet haben.
Zu Spalte 11: Anmerkungen:
1) Vorsichtig erhitzen, damit das Glas weder springt noch weich wird!
2) Höchstzulässige Anodenbelastung nicht überschreiten!
3) Diese Röhren dürfen nie höher als zur Regenerierung unbedingt erforderlich geheizt werden,
da sonst die Gefahr besteht, dass das unter der Bariumschicht liegende Wolframoxyd zerfällt.
Heizt man eine solche Röhre mit Normalspannung und hat man die Möglichkeit, durch Lücken der
Verspiegelung oder mit Hilfe eines Spiegels von unten her den Faden zu sehen, so kann man schon
voraussagen, ob sich eine Regenerierung lohnt oder aussichtslos ist. Glüht nämlich der Faden bei
Normalspannung sichtbar, so heißt das, dass an diesen Stellen der Oxydbelag nicht mehr vorhanden
und ein Auffrischungsversuch sinnlos ist. Im anderen Falle ist praktisch kein Glühen zu sehen
(sehr dunkle Rotglut).
4) Bei Regenerierung mit Anodenbelastung verfährt man so, dass man den Anodenstrom beobachtet,
der nach 5 bis 90 Minuten (je nach Kathode) hei Ug1 = 0 langsam zu steigen pflegt, bis er die
Grenze der zulässigen Anodenbelastung der Röhre erreicht, dann hält man ihn bei weiterem Steigen
durch Erhöhen der negativen Gitterspannung immer knapp unter dieser Grenze und schaltet die
Anodenbelastung sofort ganz ab, sobald diese Tendenz des Anodenstroms, zu steigen, aufhört.
Bei Mehrgitterröhren liegen an allen übrigen Elektroden die normalen Betriebsspannungen.
Dabei darf keinesfalls eine mehr als 20prozentige Überlastung der anderen Elektroden auftreten,
d.b. die übrigen Spannungen müssen langsam auf Sollwert heraufgeregelt und zur Einhaltung der
zulässigen Elektrodenbelastung evtl. wieder heruntergeregelt werden, sobald bei erfolgreicher
Regenerierung die Elektrodenströme steigen. Sobald das Ansteigen der Ströme nachlässt also ein
Maximum erreicht wird, geht man dabei sofort auf Normalspannung zurück, weil damit der Zweck des
Regenerierens erfüllt ist.
5) Man steigert die Heizspannung langsam bis auf 20% über Normalspannung, d. h. also bei
4-,VoltRöhren auf max. 4,8 Volt (Messgenauigkeit des Instrumentes beachten!), legt dann bei
starker negativer Gittervorspannung die höchstzulässige Anodenspannung (und evtl. G2-Spannung)
an und regelt die Gittervorspannung unter Beachtung des Anodenstromes und des Röhrensystems so
weit herunter und ins Positive (bis zu + 30 Volt!), bis ein übernormaler Anodenstrom fließt und
die Röhrenanode eben in schwache Rotglut kommt.
(Vorsicht! Bei Glimmentladung wird das Instrument überlastet - also langsam hochfahren!)
Unter diesen Bedingungen fährt man die Röhre, bis sich ein schwaches grünes Leuchten im
Systeminnenraum (von angeregtem Barium dampf) zeigt, um dann nach einigen Minuten durch
Einregeln höherer negativer Gittervorspannung und Wegnahme der Anodenspannung wieder auf die
normalen Betriebswerte der Röhre überzugehen. Danach wird die Röhre unter üblichen
Betriebsbedingungen, d. h. also mit den von der Herstellerfirma angegebenen Betriebsdaten,
im Röhrenprüfgerät gemessen. Dabei wird sich meist eine erhebliche Verbesserung der
Leistungsfähigkeit zeigen. Da dieses Verfahren eine bestimmte Getterung voraussetzt, ist es
nicht bei allen Röhren erfolgreich (z. B. meist undurchführbar bei Valvo-Röhren.
Dagegen erreichte Verfasser bei Telefunken-Röhren damit stets gute Erfolge).
6) Hier hat im Gegensatz zur Kathodenart A (Spalte 7) die Erhitzung über einer Gasflamme
einen wirklichen Wert. Wenn man nämlich vorzugsweise die den offenen Systemseiten
gegenüberliegenden Teile des Kolbens erhitzt, so kann sich dort der Bariumspiegel lösen und
verdampft in das System hinein, um sich dort (u. a. auch) auf den Heizfaden niederzuschlagen.
Dabei wird die Glaswand nicht durchsichtig wie bei Thoriumröhren, sondern bleibt meist schwarz,
weil das Barium des Spiegels an der Grenzschicht eine chemische Verbindung mit dem Glas eingegangen
ist. Dagegen verschwindet an dieser Stelle der Glanz des an sich sehr dunklen Bariumspiegels.
7) Röhren mit Nickelbändern als Pasteträger sind besonders empfindlich gegen Überlastung.
Man kann hier 4-Volt-Röhren nur sekundenweise mit bis zu max. 6 Volt überheizen.
8) Bei Gleichrichterröhren (AZ 11) regeneriert man hier beide Systeme nacheinander unter
Anlegen von nur 20 Volt Anodengleichspannung, wobei sich für einen Ri von 1000 Ohm nach der
Regenerierung ein Anodenstrom von etwa 20 mA einstellen muss Dabei nur wenig oder kurzzeitig stark
erhöhte Heizspannung anlegen.
9) Bei dieser Kathodenart muss man berücksichtigen, dass die indirekte Heizung eine gewisse
Wärmeträgheit (entsprechend der Anheizzeit ) zur Folge hat. Ferner dauert es eine gewisse Zeit,
bis sich der innere "Mechanismus" der Kathode der höheren Belastung beim Regenerieren angepasst hat.
Infolgedessen erscheint eine zeitlich längere, aber wertmäßig geringere Belastung immer
erfolgversprechender als eine kurzzeitige, verhältnismäßig hohe Belastung. Außerdem besteht hier
beim Regenerieren unter starker Überheizung die Gefahr thermischer Gitteremission, wobei die
Elektroden evtl. noch, Gas abgeben und dadurch die Kathode vergiften können (Oxydbildung).
Im allgemeinen aber können Vergiftungs- wie Ermüdungserscheinungen durch sinnvolles Regenerieren
ausgeglichen werden, wenn sie noch nicht zu weit fortgeschritten sind.
10) Wo ein Nachformieren mit normaler Anodenbelastung empfohlen ist, ohne dass diese zur
Regenerierung gefordert wird, kann man sich so helfen, dass man die Röhre in ihr Gerät einsetzt,
sie aber unter Abschaltung von der Geräteheizung aus dem erweiterten M1 mit der angegebenen erhöhten
Spannung heizt und in ihren Anodenstromkreis ein mA-Meter legt.
Einrichtungen für das Regenerieren
Wie man aus der Tabelle ersieht, ist teilweise ein recht erheblicher gerätemäßiger Aufwand für
die Röhren-Verjüngung notwendig. Erscheint dieser als untragbar, weil nur eine oder zwei Röhren
aufzufrischen sind, so bleibt man auf die einfache Überheizung angewiesen. In jedem Fall aber sind
folgende Einrichtungen erforderlich:
1 Stromquelle (mehrfach abgreifbarer Heiztransformator, notfalls auch Klingeltransformator, auch Sammler);
1 niederohmiger, hochbelastbarer Regelwiderstand (evtl. einer der früher üblichen Heizwiderstände);
1 Voltmeter (Drehspule mit Gleichrichter bei Wechselstromheizung) mit bekannter Messgenauigkeit.
Außerdem sollte ein Röhrenprüfgerät mit Leistungsprüfung üblicher Bauart vorhanden sein, um dem
Ablauf des Auffrischungsvorganges durch Stichproben überwachen zu können. Mit modernen Röhrenprüfgeräten
läßt sich natürlich auch die Heizspannung durch Umstecken erhöhen (z.Bsp. Funke W19).
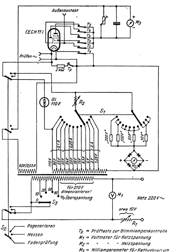
Für die Leser der FUNKSCHAU soll das Schaltbild eines entsprechend erweiterten
Röhrenprüfgerätes M 1 gebracht werden.

Die Bedienung erfolgt in groben Zügen in folgender Weise:
1. Schalter S1 auf die aus der Röhrentabelle ersichtliche Heizspannung einstellen.
2. Schalter S2 auf "Fadenprüfung" stellen und Röhre in die vorgesehene Fassung stecken.
3. Wenn die Glimmlampe jetzt leuchtet, ist der Heiz-faden in Ordnung, anderenfalls ist
die Röhre unrettbar verloren.
4. Mit R1 die Netzspannung auf Sollwert (z. B. Rote Marke an M1) bringen.
5. S2 auf "Messen" weiterschalten. Heizspannung an M2 kontrollieren, notfalls an R2 nachregeln.
6. M3 ablesen. Ist der Wert wesentlich niedriger als bei neuen Röhren gleichen Typs, so wird regeneriert.
7: Grad der Überheizung an S3 einstellen, S2 auf "Regenerieren" stellen, evtl. R2 etwas nachregeln.
8. Nach Ablauf der vorgeschriebenen Zeit S2 auf "Messen" zurückschalten. Wenn Ergebnis unbefriedigend,
Regenerieren wiederholen usw. Da z. Zt. Bleche bestimmter Abmessungen schwer erhältlich sind, werden
keine Angaben für den Transformator gemacht, er lässt sich überdies leicht nach
den zahlreichen in der Literatur zu findenden Anleitungen ausrechnen, kleine Rechenungenauigkeiten lassen
sich durch R1 und R2 ausgleichen.
Drei Beispiele mit Daten von erfolgreich ausgeführter Regenerierung:
1. RES 164:
a) nach Rezept 6: Heizung mit 6,3 Volt, dabei - GV immer nach negativen Werten nachgeregelt,
um Ja auf 12 mA zu halten, bis Ja nicht mehr stieg, sonst nach Tabelle.
b) nach Rezept 7 (die Röhre hatte nur noch 18 % ihrer Sollleistung):
1.) Erhitzung etwa 20 Sekunden lang.
2.) 5 Minuten lang 6,3-Volt-Heizung, ohne Anodenbelastung.
3.) Ua = Usg == 250 Volt, Ug = -{- 30 Volt, Ja = 120 mA!
Diesen Wert durch Rückregeln der Heizspannung (G,3-4 Volt) gehalten,
dabei Rotglut der Anode und grünes Leuchten im Systeminnenraum.
Nach Aufhören des Ja-Anstieges abgebrochen und nachformiert.
2. AL 4 nach Rezept 11:
1. Messung ergab: Ja = 22 mA- Regenerierung: ohne Anodenbelastung, 3 Minuten Heizung mit 6,3 Volt,
2. Messung ergab: Ja = 38 mA. Jetzt nachformiert. 3. Messung ergab: Ja = 39 mA.
3. ECH 11:
Hier, wie bei einigen anderen E-Röhren, empfiehlt es sich, unter normaler
Anodenbelastung auf dem Messfeld die Heizspannung kurzfristig auf 9 bis 10 Volt zu erhöhen,
bis Erfolg durch entsprechende Anodenstromerhöhung erkennbar ist.
Nachformieren hier meist überflüssig.
II. Reparieren
Von 100 unbrauchbaren Röhren pflegen größenordnungsmäßig nur 20 % taub zu sein,
alle anderen haben andersartige Fehler, wie Glasschäden, Elektrodenschlüsse,
abgebrochene Kappen usw., aber auch Verzerrungen und Leistungsmängel durch innere
Verunreinigungen und Feinschlüsse. Während Glasschäden stets unreparierbar sind,
besteht bei vielen anderen Fehlern eine Möglichkeit zur Wiederherstellung.
Im folgenden Abschnitt werden die Reparaturmöglichkeiten stichwortartig erwähnt.
a) Fehler an Fassungen:
Meist Federbruch oder unsaubere (durch Lötfett usw. oxydierte) Kontakte.
b) Fehler an Sockeln und Kappen:
Oft treten Unterbrechungen in den Elektrodenzuführungen auf, die sich durch
einfaches Nachlöten der Sockelkontakte wieder herstellen lassen. Abgebrochene
Teile von Sockelkontakten kann man neu anlöten. Wo der Sockel vollkommen gebrochen
oder sonst zerstört ist, wird die Röhre neu gesockelt. Ebenso lässt sich meist eine
Neusockelung nicht umgehen, wenn Zuleitungsdrähte zwischen Sockel und Quetschfuß
gerissen sind und wieder geflickt wurden. Auch bei abgerissenen oder mangelhaft
angeschlossenen Gitter- und Anodenkappen lässt sich meist die Röhre noch retten.
c) Grobe äußere Elektrodenschlüsse
entstehen bei lockeren Sockeln durch Verdrehen des Kolbens gegen den Sockel und sind
nach Rückdrehen und Festkitten des Kolbens leicht behoben.
d) grobe innere Elektrodenschlüsse
treten meist nur in kaltem oder nur in warmen Zustand auf und können dann oft durch
Ausbrennen beseitigt werden. Sind derartige Schlüsse aber durch äußere Einwirkungen
(Fall, Stoß) entstanden, so hilft meist kein Ausbrennen mehr und es bleibt nur zu überlegen,
ob man die Röhre (bei intakter Kathode) nicht für einen anderen Zweck (z. B. Einweg-Gleichrichter)
verwenden oder die Schaltung der zugehörigen Stufe entsprechend ändern kann.
e) Innere Elektrodenfeinschlüsse
rufen Verzerrungen oder andere unliebsame Fehler hervor. Besonders bekannt sind diese
Fehler bei der VCL11. Sie sind von verschiedenen Besitzern auf verschiedenem Wege,
meist empirisch, beseitigt oder genauer: durch Schaltungsänderungen kompensiert worden.
Obgleich einige hier schon die wahren Ursachen für die Feinschlüsse der VCL 11
erkannt hatten, blieb man seltsamerweise bei kompensierenden Schaltungsänderungen, anstatt
die Ursache zu beseitigen. Deswegen sei hierfür ein bewährtes Rezept gegeben:
Gemäß Abbildung wird die Kathode geerdet und bei ungeheizter Röhre der den Feinschluss
verursachende Niederschlag dadurch weggebrannt, dass man ein einwandfrei angeschlossenes
(d. h. also mit Schutzerdung versehenes) Hochfrequenz-Heilgerät für einige Sekunden über
eine Funkenstrecke von etwa 15 mm abwechselnd den beiden Anodenanschlüssen nähert.
In hartnäckigen Fällen, die aber äußerst selten vorkommen, kann man in gleicher Weise
auch die Gitter- und Hilfsgitterzuleitungen dieser Behandlung unterziehen.

Originaltext und Abbildungen entnommen aus Funkschau Nr.8/9 - 1943
|