This site in english language -> »please click here«
EKV13 - VEB Funkwerk Köpenick Allgemeines
Die Reihe der Einseitenband-Kurzwellen-Verkehrsempfänger EKV wurde vor allem von ostdeutschen Nachrichtendiensten, bei der Armee (NVA) und auf Schiffen (Handelsmarine) eingesetzt.
Zu Beginn der 70er Jahre wurden verschiedene Modelle mit diversen Konfigurationen vom VEB Funkwerk Köpenick hergestellt.
Es handelt sich beider EKV-Reihe um volltransistorisierte Geräte mit mechanischen ZF-Filtern, ISB-Demodulator und Antennen-Diversity-Zusatz und FSK-Demodulator.
Nach der Wiedervereinigung von BRD und DDR kamen viele Geräte in privaten Besitz. Damals wie auch heute sind diese Spitzenempfänger wegen
des hohen Gewichtes von 52kg sehr günstig zu bekommen. ( ca. 50 - 150 Euro )
Die Grundausführung ist für den Frequenzbereich von 1,6 - 30 MHz dimensioniert.
Die hohe Genauigkeit und Konstanz der eingestellten Frequenz wird durch Aufheizung ( im Thermostaten auf ca. 70°C ) des 1 MHz-Mutterquarzoszillators erreicht.
Dieser Hauptsoszillator bestimmt die Genauigkeit der mechanisch einstallbaren Frequenzschritte.
Ein durchstimmbarer 100 kHz-Interpolationsoszillator ist ebenfalls in dem Thermostaten eingebaut und ermöglicht durch eine
präzise Frequenzlinearisierung die Ausnutzung der hohen Skalenauflösung.
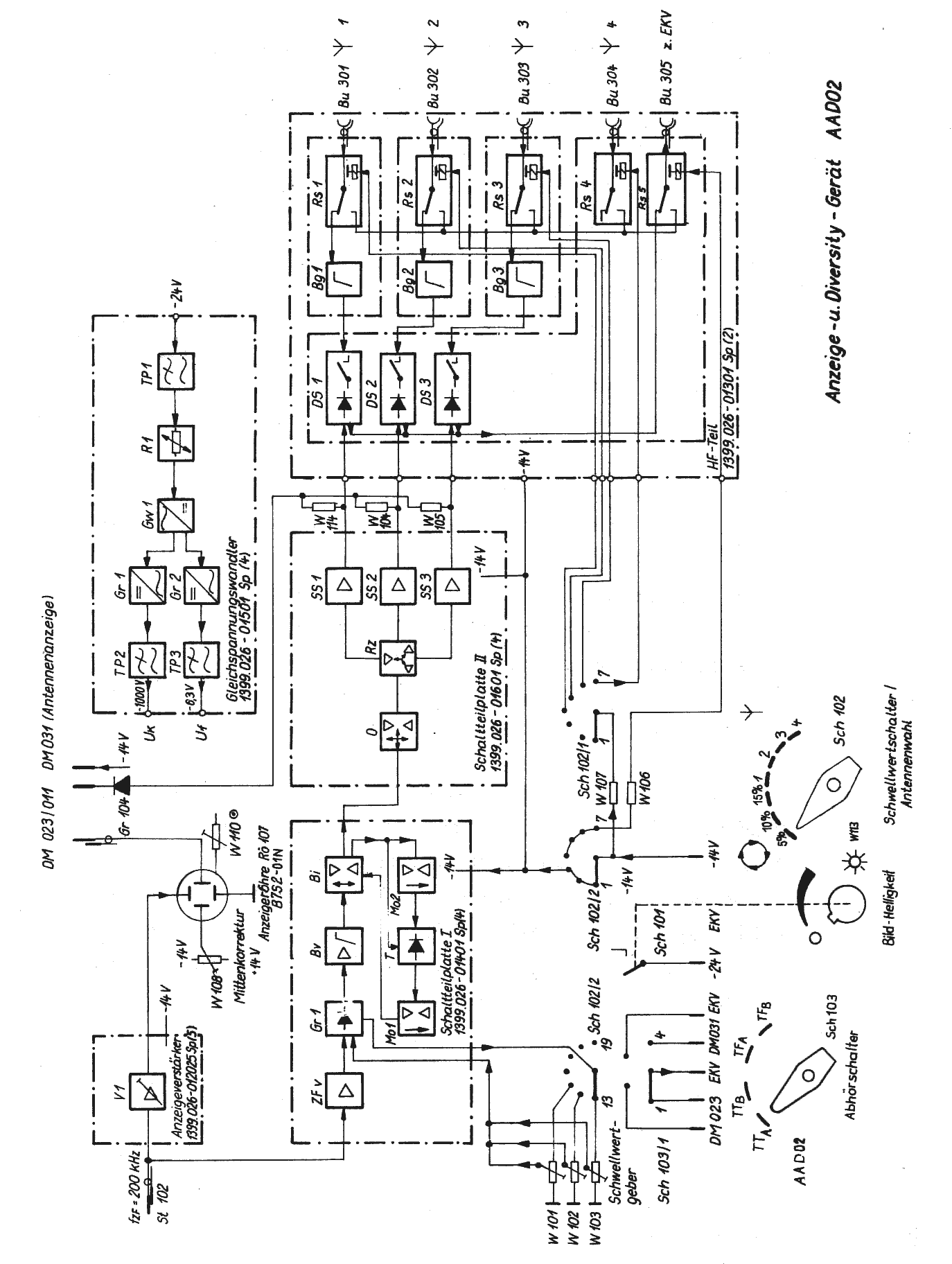
Mit dem Antennen-Diversity-Gerät AAD02 ist die elektronische Umschaltung zwischen 3 räumlich getrennten Antennen ( Raumdiversity ) oder 3 Antennen
mit unterschiedlicher Polarisation ( Polarisations-Diversity ) oder 3 unterschiedlichen Anntennenbauarten möglich. (Quad Loop Vertical)
Beim Diversityempfang wird bei Telegrafie-Sendungen (F1/F6) eine Verminderung der durch Selektivschwund bedingten Fehlerzahl erreicht.
Die momentan angekoppelte Antenne wird über ein separates Zeigerinstrument angezeigt. Gleichzeitig kann das AAD02 als Antennenwahlschalter für
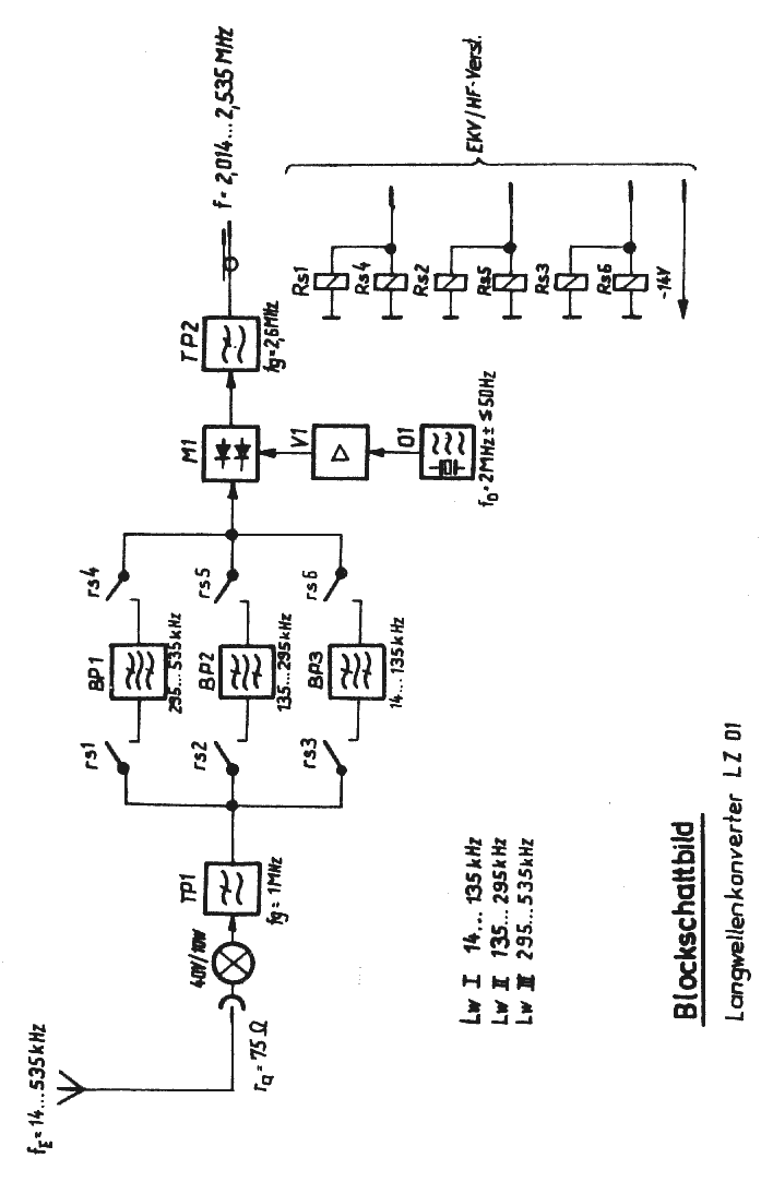
4 verschiedene Antennen benutzt werden. Der nachrüstbare Langwellenzusatz LZ01 besitzt einen separaten Antenneneingang.
Mit dem LZ01 ist der Empfang von 14 - 535 kHz möglich.
Es gab folgende Ausführungen:
EKV 01 Grundgerät im kleinen Gehäuse \
EKV 02 Grundgerät im kleinen Gehäuse -> Unterschiede bei Filterbestückung / Frequenzbereich
EKV 03 Grundgerät im kleinen Gehäuse /
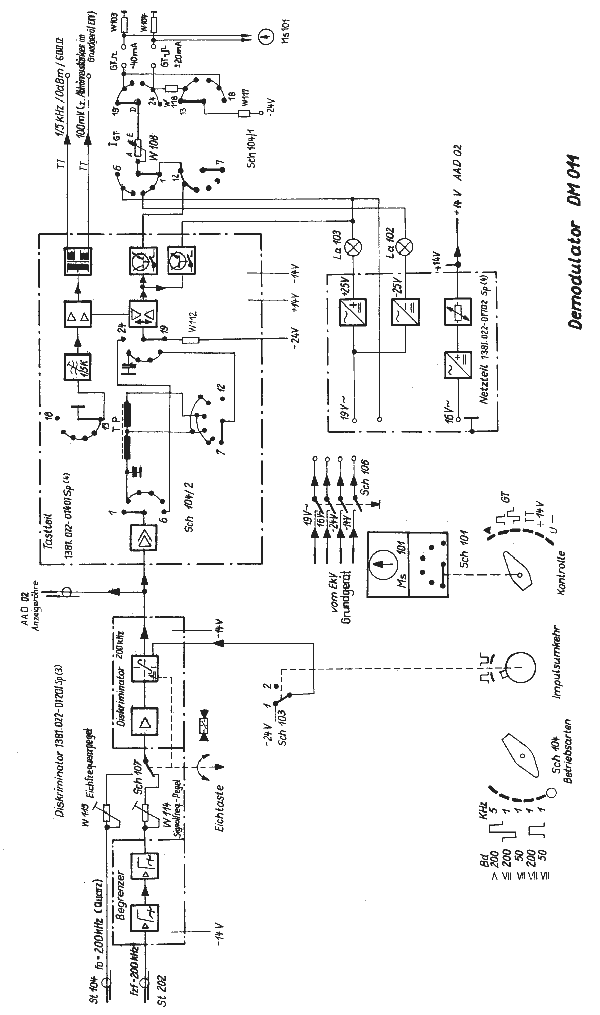
EKV 10 Grundgerät, DM031 A3B-Demodulator NF 250 - 6000 Hz
EKV 11 Grundgerät, LZ01 Langwellenzusatz, AAD02 Antennendiversity, DM011 FM-Demodulator 1 Kanal
EKV 12 Grundgerät, AAD02 Antennendiversity, DM023 FM-Demodulator 2 Kanal, DM032 A3B-Demodulator NF 300 - 3400 Hz
EKV 13 Grundgerät, LZ01 LW-Zusatz, AAD02 Antennendiversity, DM023 FM-Dem. 2 Kanal, DM031 A3B-Dem. NF 250 - 6000 Hz
EKV 14 Grundgerät, AAD02 Antennendiversity, DM023 FM-Demodulator 2 Kanäle
EKV 15 Grundgerät, AAD02 Antennendiversity, DM011 FM-Demodulator 1 Kanal
Einseitenband Kurzwellen Verkehrsempfänger EKV 13
Technische Kurz-Daten:
14-535 kHz / 1,6-30 MHz
Preselektor, abstimmbar
Frequenztreffsicherheit: besser 100 Hz ( 200 Hz bei LW ) nach 2h, +5 - +45°C, ±10% Netzspannungschwankung
Frequenzinkonstanz: besser 40 Hz/ 24h nach 2h Einlaufzeit, +5 - +45°C, ±10% Netzspannungschwankung
Dreifachsuper
ZF 38,3 MHz, 3,2 MHz, 200 kHz
mechanische Digitalanzeige - Auflösung 100 Hz
AM, USB, LSB, FSK
A1, A2, A3, A4, A3J, A3A, A3B intern, A3B extern, F1, F4, F6
Empfindlichkeit A3J bei 2700 Hz Bandbreite und 20dB Störabstand «2.0 uV
ZF Bandbreiten +6 kHz, +2,7 kHz, +/- 3 kHz, +/- 1,5 kHz, +/- 700 Hz, +/- 250 Hz, +/- 75 Hz
RF-Gain, AGC 2x, Antennen - Diversity - 4 Eingänge, Fernschreibdemodulator
Eingänge: ca. 75 Ohm unsymmetrisch, alle Eingänge haben eine Schutzschaltung für Werte größer 40V an 75 Ohm
Abstimmanzeige für FSK ( Oszillographenröhre B7S4 ), 2 x Anschluß für Fernschreiber F 1100 oder F 1200 o.ä.
Gewicht: 52kg
Leistungsaufnahme: 75 W mit Thermostat, 45 W ohne Thermostat
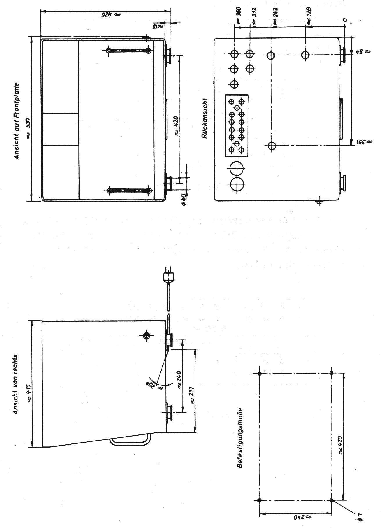
Der EKV der Modellreihe 10 - 15 ist in ein 53 x 41,5 x 41 cm grosses Metallgehäuse (mit seitlichen Tragegriffen)
eingebaut - oberhalb des Grundgerätes befinden sich je nach Ausstattung zusätzliche Einschübe

Bei der Modellreihe EKV 01 - 03 ist nur das Grundgerät in ein etwas flacheres Gehäuse eingebaut.
Das Gerät kann mit 110/127 und 220 V Wechselstrom oder 24 Volt Gleichstrom
(von einer Fahrzeug- oder Schiffsbatterie) betrieben werden.
Auf der Frontplatte des Grundgerätes finden sich oben rechts die Schalter für Netzbetrieb, den Quarzofen
(der zur Verbesserung der Frequenzstabilität dauerhaft eingeschaltet bleiben sollte) und Batteriebetrieb.
Darunter sind die Sicherungen zugänglich.
Links oben befindet sich der Lautsprecher, der durch Ziehen des gleich daneben gelegenen Lautstärkereglers
deaktiviert werden kann. ( Kopfhörer/ Fernschreiberbetrieb )
Mit dem Drehschalter daneben kann aus der (je nach Gerätetyp unterschiedlichen) Auswahl von CW, SSB (nur USB) und AM - Filtern
das passende ZF-Filter geschaltet werden. Die mechanischen 200-kHz Filter zeichnen sich hauptsächlich durch ihre Steilflankigkeit aus.
Rechts liegt der Schalter zur Einstellung der Rauschsperre für den USB-Empfang,
der folgende zweite Drehschalter dient zur Auswahl der Betriebsarten. Nacheinander kann von A1 (CW, Morseempfang), A2,3
(AM-Empfang mit manueller HF-Regelung, schneller und langsamer AGC), A3J/A3A (SSB-Empfang mit unterdrücktem oder
reduziertem Träger, jeweils manuelle schnelle oder langsame AGC-Regelung), A3J/A3A mit zusätzlich beschnittenem
NF-Frequenzgang von 1,8 kHz und F4 ( Fernschreibempfang ) umgeschaltet werden. Sowohl Betriebsart AM/ SSB/ CW wie
auch die AGC-Arten werden mit diesem Schalter eingestellt. Weiter rechts folgt das Anzeigeinstrument, das mit einem darunter
liegenden Schalter nicht nur zur Anzeige der HF- und NF-Signalstärke sondern auch zur Kontrolle der Versorgungsspannungen
und von weiteren Referenzspannungen eingesetzt wird.
Die untere Bedienelementegruppe enthält den Preselektor, die HF-Verstärkungsregelung und die Frequenzabstimmung.
Über den 2 Kopfhörerbuchsen liegt der Preselektorabstimmregler, mit dem Preselektorbandschalter daneben kann diese Baugruppe
entweder abgeschalten (Stellung 1,6 - 30 MHz) oder das entsprechende Kurzwellen- oder MW/LW- Segment gewählen. Beim
Empfang mit aktiviertem Preselektor muß jeweils mit dem linken Drehknopf auf Signalmaximum abgestimmt werden. Rechts davon
liegt der Regler für die HF-Verstärkung, in der Einstellung MGC des Betriebsartenschalters wird die HF- und ZF-Verstärkung
ganz von Hand eingestellt, im Automatikbetrieb erledigt die AGC diese Aufgabe. Im Automatikbetrieb ist es bei gezogenem Knopf
möglich, die Regelung des 3. ZF-Verstärkers der Automatik zu überlassen, die HF- und ZF-1-Verstärkung aber manuell vorzunehmen.
Weiter rechts folgen die Abstimmregler. Mit den ersten linken Drehknöpfen wird die MHz-Stelle und die 100 kHz-Stelle gewählt.
Der grosse Abstimmknopf rechts ist für die letzten Stellen zuständig, die Frequenz wird mechanisch digital auf 100 Hz genau angezeigt.
Der kleine Drehknopf kann die Abstimmung mechanisch gegen versehentliche Verstellung blockieren.
Der Schalter für den Eichgenerator befindet sich zwischen den beiden linken Abstimmknöpfen. ( MHz und 100 khz )
Im praktischen Einsatz ist der Empfänger nicht ganz einfach zu bedienen, genauso einfach kann der Empfang durch eine
Fehlbedienung unmöglich gemacht werden. Durch Druck auf die Netztaste wird der Empfänger eingeschaltet, bei
eingeschobenen Lautstärkeregler sollte jetzt ein Rauschen hörbar sein. Zum AM-Empfang sollte der ZF-Filterschalter in der
oberen Mittelstellung auf +/- 3000 Hz und der Betriebsartenschalter auf A2,3 Automatik 0,2 (Sekunden Abfallzeit) stehen.
Der Preselektor wird zunächst in der Stellung 1,6-30MHz umgangen und die HF-Verstärkungsregler werden abgeschaltet.
Nach Einstellen der Empfangsfrequenz 06 (MHz) mit dem ersten und 0 (100 kHz) mit dem zweiten Drehschalter wird mit dem
grossen Abstimmknopf auf 75,0 gekurbelt, es sollte jetzt die "Deutsche Welle" auf 6075 kHz hörbar werden. In Stellung UZF
zeigt das Messinstrument als S-Meter die Feldstärke an. Ist noch nichts hörbar, muss oben am ersten Einschub sichergestellt sein,
dass der Telephonie-Demodulator TFA und die Antenne 1 gewählt und das Eingangssignal hinten dem richtigen Antenneneingang
A1 zugeführt worden ist. Nach diesen ersten Schritten kann die Wirkungsweise der verschiedenen Verstärkungsregelarten, die
Charakteristiken der ZF-Filter und des Preselektors in verschiedenen schwierigeren Empfangssituationen erprobt werden, wobei
sich der EKV vor allem auch im SSB-Bereich als trennscharfer empfindlicher Empfänger erweisen wird.
Für den Techniker bietet das Innenleben eine Augenweide !

Der Quarzofen :

Hier eine Aufnahme des Gerätes mit abgenommener Frontplatte

Die Frontplatte von hinten gesehen. Alle mechanischen Verbindungen sind gesteckt
So läßt sich die Frontplatte in Sekunden ohne Probleme wieder montieren

Rückansicht des EKV . Man sieht sehr gut den Aufbau aus Einzelmodulen.

Die Module lassen sich einfach durch Lösen von 4 Schrauben herausnehmen. Alle Kabel sind farblich gekennzeichnet.

Die Abstimmmechanik hat es in sich ....

|